D|Verse
30" Sink System Featuring the XLERATORsync Hand Dryer
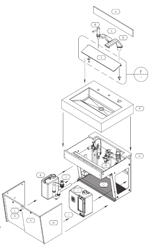
INTEGRATED SINK SYSTEM
- XLERATORsync® Hand Dryer: Polished Chrome
- ADA Compliant Vanity Enclosure
- Cabinet Details: Sliding and Locking Panels
- 4” Model Optional Backsplash Matches Counter
- Wall-Mounted Brackets For Easy Install
- D13-U1525 Sink Basin: Commercially Designed Patented Undermount Sink Basin with Pivot Drain Cover in Polar White
- Optional: Gradient Basin with Infinity Drain
STANDARDS/CERTIFICATIONS
- CSA B45.5/IAPMO Z124 Tested and Certified Annually by an Independent Research Laboratory
- HUD UM Bulletin No. 73a
- NSF 51
- ASTN E84: Class 1
- UL Listed
- eHEPA Filtration tested by LMS Technologies
- MA Plumbing Approved Product
Product Bundle
Stern® Green Soap Dispenser
Stern® Condor 1010 E Faucet
XLERATORsync® Hand Dryer
Hardware
- Wall Mounted Stainless Steel Brackets
- Brushed Stainless Steel Vanity & Plumbing Enclosure
- Plumbing Enclosure includes lockable hinged cabinet style doors for easy access and maintenance
Standard Fixtures
- Hand Dryer: Polished Chrome
- Faucet*: Polished Chrome
- Soap*: Polished Chrome
*Remote included: Adjusts Sensors for Faucet and Soap
Specifications
- Single Station Dimensions
- W: 30 inches (762 mm)
- H: 28 inches (711.2 mm)
- D: 24 inches (609 mm)
- Electrostatic HEPA (eHEPA®) Filtration System: Proven to remove 99.999% of viruses and 99.97% of potentially present bacteria at 0.3 microns from the airstream1
- 10-15 seconds Dry Time
- Adjustable Heat Settings, Speed and Sound Control
- Sound Suppression Air Delivery System
Sink Components












